Поиск нестандартных комплектующих хорошо знакомая головная боль для технических служб производственных предприятий. Когда оборудование требует специфических деталей, которых нет в каталогах, приходится искать тех, кто готов изготовить их по документации. Именно с такой задачей к нам обратился клиент из деревообрабатывающей отрасли.
Задача клиента
Предприятию потребовалась замена приводных звёздочек на специализированном оборудовании. Готовых аналогов с нужными параметрами на рынке не существовало. Клиент располагал собственными чертежами и обратился к нам с запросом на изготовление двух типов изделий серийной партией.
Что изготавливали
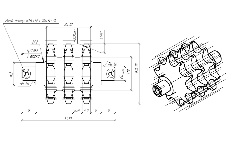
Звёздочка 06B-3: трёхрядная, шаг цепи 9,525×5,72 мм (3/8×7/32"), число зубьев Z=10, нижняя. Чертёж ГФК.838900001.001.

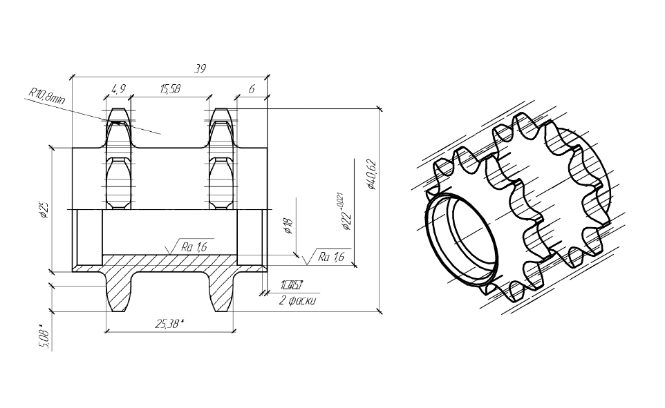
Звёздочка 06B-2: двухрядная, шаг цепи 9,525×5,72 мм (3/8×7/32"), число зубьев Z=12. Чертёж ГФК.838800001.002.

Обе позиции выполнены под стандарт ISO 606, серия 06B. Сочетание Z=10 и Z=12 формирует расчётное передаточное отношение для конкретного узла станка. Трёхрядное и двухрядное исполнения обеспечивают необходимую нагрузочную способность передачи при компактных габаритах.
Как строилась работа
После получения конструкторской документации специалисты проверили чертежи на полноту и корректность, согласовали с клиентом все технические нюансы. Затем был разработан технологический маршрут для каждого изделия: выбор материала, последовательность операций (токарная обработка, зубофрезерование, финишные операции), режимы и инструмент.
Производство велось с пооперационным контролем. Геометрия зубьев, посадочные размеры, шероховатость поверхностей - всё проверялось в соответствии с требованиями чертежей. Перед отгрузкой партия прошла финальную приёмку.
Объём и сроки
Тираж по 100 штук каждого вида, итого 200 изделий. Срок выполнения 14 недель с момента согласования документации. В этот период вошли технологическая подготовка, изготовление и контроль установочной партии, серийное производство и финальная приёмка.


Результат - клиент получил комплектующие точно в срок, в полном объёме, с документальным подтверждением соответствия чертежам.
Вывод
Если ваше производство нуждается в нестандартных звёздочках или других элементах приводных систем мы готовы изготовить их по вашим чертежам. Пришлите документацию, и мы подготовим предложение.

